Montageanleitung Zumo XT/XT2 Sicherung
Allgemeine Hinweise zur Montage
Herzlichen Glückwunsch für deinen Kauf bei Spooled! Alle Spooled Produkte werden vor Auslieferung einer sorgfältigen Qualitätskontrolle unterzogen um optimale Funktion zu gewährleisten.
Zur Montage der Produkte sind fundierte technische Grundkenntnisse notwendig. Zur Sicherheit wird empfohlen die Montage durch eine Fachwerkstatt durchführen zu lassen. Es wird keine Haftung für Schäden übernommen die infolge einer fehlerhaften oder unsachgemäßen Montage entstehen. Montagehinweise im Fahrzeughandbuch müssen bei der Montage unbedingt beachtet werden!
Kontakt
Sollten im Rahmen der Montage Fragen oder Probleme auftreten, melde dich bitte unter: info@spooled.de
Diese Montageanleitung ist nach dem derzeitigen Kenntnisstand verfasst. Es besteht kein Rechtsanspruch für die Richtigkeit dieser Anleitung.
Vorbereitung
Lies diese Anleitung aufmerksam und vollständig durch, bevor du mit der Montage beginnst! Stelle sicher, dass alle Bauteile des Lieferumfangs vorhanden sind. Achte bei der Montage auf einen sicheren Stand des Fahrzeugs, damit dieses nicht umfallen kann. Führe die Montage gegebenenfalls mit einer zweiten Person durch.
Beachte die nationalen TÜV-Vorschriften bzw. gesetzlichen Regelungen in deinem Land! Teile, die einer Eintragungspflicht unterliegen sind nach der Montage umgehend bei einer Prüfstelle vorzuführen und in die Fahrzeugpapiere einzutragen.
Während der Montage Motor abstellen und Zündschlüssel aus dem Zündschloss abziehen. Lasse das Fahrzeug gegebenenfalls abkühlen, um Verbrennungen an heißen Bauteilen wie Auspuff oder Motor zu vermeiden. Wenn Arbeiten an der Elektronik des Fahrzeugs durchgeführt werden, muss die Batterie abgeklemmt werden.
Anzugsdrehmomente
Alle Anzugsdrehmomente, die nicht in dieser Anleitung definiert sind, müssen im Handbuch, beim Hersteller des Fahrzeugs oder durch eine Fachwerkstatt ermittelt werden! Anzugsdrehmomente müssen mit einem kalibrierten Drehmomentschlüssel geprüft werden!
Kontrolle nach der Montage
Nach der Montage muss sichergestellt werden, dass alle gelösten Bauteile und Verbinder wieder korrekt befestigt wurden. Achte nach der Montage auf die Freigängigkeit beweglicher Teile wie Lenker, Kette etc. Am Fahrzeug dürfen keine Leitungen, Kabel oder Züge scheuern oder eingeklemmt werden. Vor Fahrtbeginn muss eine umfassende Funktionskontrolle durchgeführt werden. Prüfe nach den ersten 50 km und darauffolgend in regelmäßigen Abständen die Anzugsdrehmomente sämtlicher Schraubverbindungen um eine einwandfreie Montage sicherzustellen.
Lieferumfang
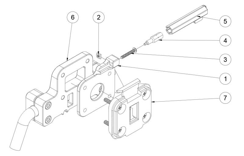
Zur Montage werden verschiedene Bauteile benötigt. Nachfolgend sind die notwendigen Bauteile aufgelistet. Prüfe vor Beginn der Montage ob alle Bauteile aus der Stückliste vorhanden sind. In der Tabelle ist angegeben, welche Bauteile zum Lieferumfang gehören.
| Stückliste | ||
|---|---|---|
| Nr. | Artikel | Anzahl |
| 1 | Sicherungsplatte Garmin Zumo XT | 1 |
| 2 | M3 Mutter (in Sicherungsplatte eingepresst) | 1 |
| 3 | M3x20mm Sicherheitsschraube | 1 |
| 4 | Sicherheitsbit SW2/TX10 | 1 |
| 5 | Bit-Halter Schlüsselanhänger | 1 |
| 6 | Navi-Halterung - nicht im Lieferumfang enthalten! | 1 |
| 7 | Garmin Aufnahme inkl. Befestigungsmaterial - nicht im Lieferumfang enthalten! | 1 |
Benötigtes Werkzeug
Montagehinweis
Zur Montage des Artikels wird Werkzeug benötigt. Dieses ist nicht im Lieferumfang enthalten. Solltest du nicht über das benötigte Werkzeug verfügen, beauftrage bitte eine Fachwerkstatt mit der fachgerechten Montage.
Um die Montage durchführen zu können wird folgendes Werkzeug benötigt:
- Schraubendreher, PH2 (zur Montage der Garmin Aufnahme)
Schritt-für-Schritt-Anleitung
Warnhinweis
Nichtbeachtung der Montageanleitung oder der Einsatz von ungeeignetem Werkzeug können zu einer fehlerhaften Montage führen. Aus dieser können Schäden am Produkt oder dem Nutzenden folgen.
Für die Montage müssen die folgenden Schritte befolgt werden:
- Zur Montage der Zumo XT Sicherung muss eine Navi-Halterung (6) am Motorrad vorhanden sein, auf welche die Garmin Aufnahme (7) aufgeschraubt werden kann. Im ersten Schritt muss die Garmin Aufnahme (7) von der Navi-Halterung (6) demontiert werden. Dazu an die Anweisungen des Herstellers der Navi-Halterung halten.
- M3x20mm Sicherheitsschraube (3) mit Sicherheitsbit (4) aus der Sicherungsplatte (1) demontieren und zur Seite legen. Die M3 Mutter (2), in welche die Sicherheitsschraube (3) greift ist bereits in die Sicherungsplatte (1) eingepresst.
- Die Sicherungsplatte (1) wird zwischen die Navi-Halterung (6) und die Garmin Aufnahme (7) eingesetzt. Bei der Montage prüfen ob die Schrauben der Garmin Aufnahme (7) ausreichend lang sind. Sollten diese zu kurz sein, müssen längere Schrauben genutzt werden.
- Garmin Aufnahme (7) gemäß der Herstellermontagen montieren.
- M3x20mm Sicherheitsschraube (3) wieder mit Hilfe des Sicherheitsbits (4) montieren. Die eingeschraubte Schraube blockiert den Auslöseknopf der Garmin Aufnahme (7) und verhindert so ein Abnehmen des Navis (siehe Abbildung).

- Vor dem Einsetzen des Navigationsgeräts muss die Sicherheitsschraube (3) mit Hilfe des Bits (4) so weit herausgedreht werden, dass der Knopf an der Garmin Aufnahme (7) sich herunterdrücken lässt. Unterwegs kann der Bit (4) mit dem Schlüsselanhänger (5) bequem mitgeführt werden.
Copyright: Spooled - Jascha Harbusch-Hecking | Irrtümer und Änderungen vorbehalten. Technische Anpassungen und Änderungen des Designs vorbehalten.