Dies ist eine alte Version des Dokuments!
Montageanleitung AirTag Halter für Garmin Aufnahme
Allgemeine Hinweise zur Montage
Herzlichen Glückwunsch für deinen Kauf bei Spooled! Alle Spooled Produkte werden vor Auslieferung einer sorgfältigen Qualitätskontrolle unterzogen um optimale Funktion zu gewährleisten.
Zur Montage der Produkte sind fundierte technische Grundkenntnisse notwendig. Zur Sicherheit wird empfohlen die Montage durch eine Fachwerkstatt durchführen zu lassen. Es wird keine Haftung für Schäden übernommen die infolge einer fehlerhaften oder unsachgemäßen Montage entstehen. Montagehinweise im Fahrzeughandbuch müssen bei der Montage unbedingt beachtet werden!
Kontakt
Sollten im Rahmen der Montage Fragen oder Probleme auftreten, melde dich bitte unter: info@spooled.de
Diese Montageanleitung ist nach dem derzeitigen Kenntnisstand verfasst. Es besteht kein Rechtsanspruch für die Richtigkeit dieser Anleitung.
Vorbereitung
Lies diese Anleitung aufmerksam und vollständig durch, bevor du mit der Montage beginnst! Stelle sicher, dass alle Bauteile des Lieferumfangs vorhanden sind. Achte bei der Montage auf einen sicheren Stand des Fahrzeugs, damit dieses nicht umfallen kann. Führe die Montage gegebenenfalls mit einer zweiten Person durch.
Beachte die nationalen TÜV-Vorschriften bzw. gesetzlichen Regelungen in deinem Land! Teile, die einer Eintragungspflicht unterliegen sind nach der Montage umgehend bei einer Prüfstelle vorzuführen und in die Fahrzeugpapiere einzutragen.
Während der Montage Motor abstellen und Zündschlüssel aus dem Zündschloss abziehen. Lasse das Fahrzeug gegebenenfalls abkühlen, um Verbrennungen an heißen Bauteilen wie Auspuff oder Motor zu vermeiden. Wenn Arbeiten an der Elektronik des Fahrzeugs durchgeführt werden, muss die Batterie abgeklemmt werden.
Anzugsdrehmomente
Alle Anzugsdrehmomente, die nicht in dieser Anleitung definiert sind, müssen im Handbuch, beim Hersteller des Fahrzeugs oder durch eine Fachwerkstatt ermittelt werden! Anzugsdrehmomente müssen mit einem kalibrierten Drehmomentschlüssel geprüft werden!
Kontrolle nach der Montage
Nach der Montage muss sichergestellt werden, dass alle gelösten Bauteile und Verbinder wieder korrekt befestigt wurden. Achte nach der Montage auf die Freigängigkeit beweglicher Teile wie Lenker, Kette etc. Am Fahrzeug dürfen keine Leitungen, Kabel oder Züge scheuern oder eingeklemmt werden. Vor Fahrtbeginn muss eine umfassende Funktionskontrolle durchgeführt werden. Prüfe nach den ersten 50 km und darauffolgend in regelmäßigen Abständen die Anzugsdrehmomente sämtlicher Schraubverbindungen um eine einwandfreie Montage sicherzustellen.
Lieferumfang
Zur Montage werden verschiedene Bauteile benötigt. Nachfolgend sind die notwendigen Bauteile aufgelistet. Prüfe vor Beginn der Montage ob alle Bauteile aus der Stückliste vorhanden sind. In der Tabelle ist angegeben, welche Bauteile zum Lieferumfang gehören.
| Stückliste | ||
|---|---|---|
| Nr. | Artikel | Anzahl |
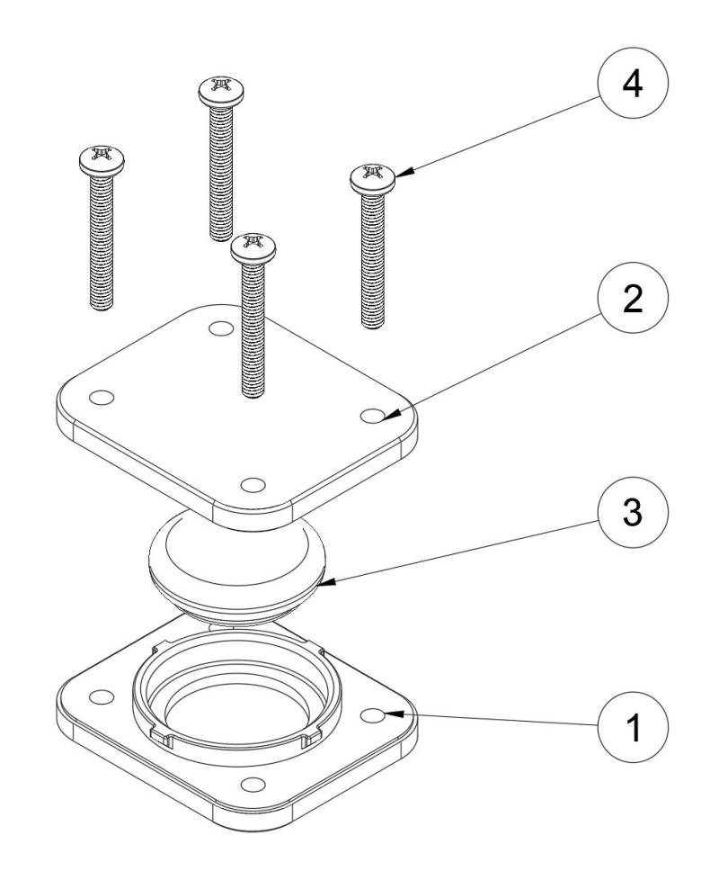
| 1 | AirTag Halter für Garmin Aufnahme Rückplatte | 1 |
| 2 | AirTag Halter für Garmin Aufnahme Frontplatte | 1 |
| 3 | Apple AirTag (nicht im Lieferumfang enthalten!) | 1 |
| 4 | M4x30mm Linsenkopfschraube V2A | 4 |
Benötigtes Werkzeug
Montagehinweis
Zur Montage des Artikels wird Werkzeug benötigt. Dieses ist nicht im Lieferumfang enthalten. Solltest du nicht über das benötigte Werkzeug verfügen, beauftrage bitte eine Fachwerkstatt mit der fachgerechten Montage.
Um die Montage durchführen zu können wird folgendes Werkzeug benötigt:
- Schraubendreher, PH2 (zur Montage der Garmin Aufnahme)
Schritt-für-Schritt-Anleitung
Warnhinweis
Nichtbeachtung der Montageanleitung oder der Einsatz von ungeeignetem Werkzeug können zu einer fehlerhaften Montage führen. Aus dieser können Schäden am Produkt oder dem Nutzenden folgen.
Für die Montage müssen die folgenden Schritte befolgt werden:
- Apple AirTag (3) in die Rückplatte (1) einlegen. Die silberne Unterseite des AirTag muss dabei nach unten zeigen.

- Die Aussparungen an der Frontplatte (2) an den Nasen der Rückplatte (1) ausrichten und durch eine Drehung im Uhrzeigersinn den Halter schließen.

- AirTag Halterung unter der Aufnahme für das Navigationsgerät montieren. Dazu die längeren Schrauben (4) nutzen. Bei der Montage der Navi-Aufnahme die Angaben des Herstellers beachten!
Anzugsdrehmomente
Bei der Montage des Artikels sind lediglich die vorgeschriebenen Anzugsdrehmomente der Aufnahme des Navigationsgeräts zu beachten. Diese finden sich in der Anleitung des Navigationsgeräts.
Copyright: Spooled - Jascha Harbusch-Hecking | Irrtümer und Änderungen vorbehalten. Technische Anpassungen und Änderungen des Designs vorbehalten.